December 8, 1931 – Advanced Blowout Preventer patented –
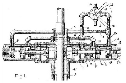
Improving upon the success of the Cameron Iron Works mechanically operated ram-type blowout preventer, James Abercrombie patented a “Fluid Pressure Operated Blow Out Preventer” designed to operate “instantaneously to prevent a blowout when an emergency arises.”

James Abercrombie’s innovative idea used rams – hydrostatic pistons – to close on the drill stem. His improved blowout preventer set a new standard for safe drilling.
Abercrombie and partner Harry Cameron in 1926 had patented the first practical ram-type blowout preventer (BOP), designed in Cameron’s Humble, Texas, machine shop. Abercrombie would receive 30 U.S. patents and become one of Houston’s most generous philanthropists. Cameron International was acquired by Schlumberger in 2016.
December 9, 1921 – Discovery of Antiknock Properties of Leaded Gas
Working for General Motors, scientists Thomas Midgely Jr. and Charles Kettering discovered the antiknock properties of tetraethyl lead. They had spent years examining properties of knock suppressors such as bromine and iodine, but when tetraethyl lead (diluted to a ratio of one part per thousand) was added to the gasoline of a one-cylinder engine, the knocking abruptly disappeared.

Despite its effective “anti-knock compounds,” public health concerns would lead to phase-out of tetraethyl lead in gasoline.
GM’s leaded compound went on sale for the first time on February 2, 1923, at a service station in Dayton, Ohio. High-octane leaded gas would prove vital during World War II — even as concerns about tetraethyl lead’s serious health dangers continued to grow. These concerns resulted in its phaseout for use in cars beginning in 1976. Tetraethyl lead has continued to be used in aviation fuel.
Learn more in Ethyl “Anti-Knock” Gas.
December 9, 1924 – Oklahoma Oil Boom at Seminole
Drilling in the Greater Seminole Area of Oklahoma, Amerada Petroleum Corporation discovered the Bethel oilfield and its highly pressurized formation, the Wilcox sand. The discovery launched another drilling boom in an area where one year earlier independent producer Joe Cromwell had found the Seminole oilfield at a depth of about 3,500 feet. By 1926, yet another discovery opened the Earlsboro field, followed within days by a discovery well that produced 1,100 barrels of oil a day from the Seminole City field.
December 10, 1844 – Future “Coal Oil Johnny” adopted in Pennsylvania
A baby who would grow up to become famously known as “Coal Oil Johnny” was adopted by Culbertson and Sarah McClintock. John Steele was brought home to the McClintock farm on the banks of Oil Creek in Venango County, Pennsylvania.
The petroleum drilling boom prompted by Edwin L. Drake’s discovery 15 years later — the first commercial U.S. oil well — would lead to the widow McClintock making a fortune in oil royalties. She left the money to Johnny when she died in 1864. At age 20, he inherited $24,500 and $2,800 a day in royalties.
“Coal Oil Johnny” Steele earned his name in 1865 after such a legendary year of extravagance that the New York Times later reported, “In his day, Steele was the greatest spender the world had ever known…he threw away $3 million ($50 million in 2021 dollars) in less than a year.”
Learn more in Legend of “Coal Oil Johnny.“
December 10, 1955 – LIFE features Stella Dysart’s Uranium Well
Mrs. Stella Dysart spent decades fruitlessly searching for oil in New Mexico. Some questionable business dealings led to bankruptcy in the late 1930s, but in 1955, a radioactive uranium sample from one of her failed oil wells made her a very wealthy woman.
Dysart was 78 years old when LIFE magazine featured her picture with the caption: “Wealthy landowner, Mrs. Stella Dysart, stands before an abandoned oil rig which she set up on her property in a long vain search for oil. Now uranium is being mined there and Mrs. Dysart, swathed in mink, gets a plump royalty.”
Just three years before the article, Dysart had been $25,000 in debt when cuttings from one of her “dusters” in McKinley County registered strong Geiger counter readings. Test wells confirmed that she owned the world’s richest deposit of high-grade uranium ore.
Learn more in Mrs. Dysart’s Uranium Well.
December 10, 1967 – Project Gasbuggy tests Nuclear Fracturing
Government scientists detonated a 29-kiloton nuclear warhead in a natural gas well about 60 miles east of Farmington, New Mexico. It was “fracking” late 1960s style, designed to test the feasibility of using nuclear explosions to stimulate the release of gas trapped in shale deposits.

Scientists in December 1967 lowered a 29-kiloton nuclear device into a New Mexico gas well. Photo courtesy Department of Energy.
Project Gasbuggy included experts from the Atomic Energy Commission, the Bureau of Mines, and El Paso Natural Gas Company. Near three low-production natural gas wells, the team drilled to a depth of 4,240 feet and lowered a 13-foot by 18-inch diameter nuclear device into the borehole.
The experimental explosion was part of a series of federal projects known as “Plowshare,” created in the late 1950s to explore peaceful uses of nuclear devices. The Project Gasbuggy downhole detonation created a molten glass-lined cavern 160 feet wide and 333 feet tall that collapsed within seconds. The well produced 295 million cubic feet of natural gas, but the gas was radioactive and useless.
Learn more in Project Gasbuggy tests Nuclear “Fracking.”
December 11, 1950 – Federal Offshore grows beyond Cannon Shot
After decades of controversy and a 1947 U.S. Supreme Court decision, the federal government’s “paramount rights” offshore were established beyond a three-nautical-mile limit, an 18th-century precedent based on the theoretical maximum range of a smoothbore cannon. The nation’s highest court prohibited any further offshore development without federal approval. In 1954, the Bureau of Land Management held the first Outer Continental Shelf lease sale, earning the government almost $130 million.
Learn more in Offshore Petroleum History.
December 11, 1972 – First Geologist walks on Moon
Astronaut and geologist Harrison “Jack” Schmitt stepped on the moon, joining Apollo 17 mission commander Eugene Cernan. Lunar experiments included a surface gravimeter to measure buried geological structures near the landing site. Schmitt also returned with the largest lunar sample ever collected.

Geologist Harrison “Jack” Schmitt examined a boulder at the Apollo 17 Taurus-Littrow Valley lunar landing site in December 1972. Photo courtesy NASA.
Schmitt, who in 1964 received a PhD in geology from Harvard, was the first and last scientist on the moon, according to Cernan. When they left the Taurus-Littrow Valley landing site on December 14, 1972, he and the lunar geologist were the last of 12 men to walk on the moon. The 19th-century petroleum product kerosene fueled all of the launches.
December 13, 1905 – Hybrids evolve with Gas Shortage Fears
“The available supply of gasoline, as is well known, is quite limited, and it behooves the farseeing men of the motor car industry to look for likely substitutes,” proclaimed the monthly journal Horseless Age.

An early hybrid, this 1902 Porsche used a gas engine to generate electricity to power motors mounted on the front wheel hubs.
The magazine, first published in 1895, described early motor technologies, including the use of compressed air propulsion systems, electric cars, steam, and diesel power — as well as hybrids.
About the time of the first American auto show in November 1900, engineer Ferdinand Porsche introduced his gas-electric “Mixte” in Europe. The hybrid used a four-cylinder gasoline engine to generate electricity. The engine powered two three-horsepower electric motors mounted on the front wheel hubs. The car could achieve a top speed of 50 mph.
December 13, 1931 – Oilfield discovered in Conroe, Texas
Independent producer George Strake Sr. completed his South Texas Development Company No. 1 well eight miles southeast of Conroe, Texas, where he had leased 8,500 acres. By the end of 1932 the oilfield was producing more than 65,000 barrels of oil a day. But disaster struck in the Conroe field in 1933 when derricks and equipment collapsed into a burning crater of oil. The fire would be put out thanks to relief wells drilled by George E. Failing and his newly patented truck-mounted drilling rig, and H. John Eastman, who employed new technologies that allowed “the bit burrowing into the ground at strange angles” (see Technology and the “Conroe Crater“).
December 13, 1985 – Route 66 decertified
Route 66, the “Mother Road” of modern highways since 1926, was decertified by the American Association of State Highway and Transportation Officials (AASHTO), which also voted to remove all Route 66 signs. Once stretching more than 2,400 miles from Illinois to California, the historic route was trailblazed in 1857 by a War Department expedition that included camels as pack animals.
During World War II, automobiles and trucks on the iconic roadway “helped to facilitate the single greatest wartime mobilization of labor in the history of the nation,” notes the National Park Service (NPS). By 1985, Route 66’s narrow asphalt paving and antiquated structure were bypassed by the interstate system. Route 66 Centennial Celebrations are planned for next year to promote preservation, research, education, and economic development along the route.
December 14, 1981 – Dowsing No Help in finding Minnesota Oil
Seeking oil investors, a Minnesota promoter proclaimed that dowsing with copper wires had located petroleum deposits in Nobles County, according to the Minneapolis Tribune, which reported the promoter had hired, “a Texas oilman and evangelist to lead a prayerful search for oil.” Despite no geological evidence, local investors paid $175,000 to drill a well that found no indication of oil or natural gas after reaching a depth of 1,500 feet.

Minnesota is one of 17 states without any oil or natural gas production, according to the Independent Petroleum Association of America.
The Minnesota Geological Survey had reported in 1980 that of the state’s 17 exploratory wells drilled “in suitable geologic settings,” none discovered commercial quantities of oil. The survey concluded, “the geologic conditions for significant deposits of oil and gas do not exist in Minnesota.”
_______________________
Recommended Reading: Drilling Technology in Nontechnical Language (2012); Fill’er Up!: The Great American Gas Station
(2013); A History of the Greater Seminole Oil Field (1981); The Legend of Coal Oil Johnny
(2007); Project Plowshare: The Peaceful Use of Nuclear Explosives in Cold War America
(2012); Stella Dysart of Ambrosia Lake: Courage, Fortitude and Uranium in New Mexico
(1959);
Apollo and America’s Moon Landing Program: Apollo 17 Technical Crew Debriefing
(2017); Electric and Hybrid Cars: A History
(2010); Down the Asphalt Path: The Automobile and the American City
(1994); Trek of the Oil Finders: A History of Exploration for Petroleum (1975).
_______________________
The American Oil & Gas Historical Society (AOGHS) preserves U.S. petroleum history. Please become an AOGHS annual supporter and help maintain this energy education website and expand historical research. For more information, contact bawells@aoghs.org. Copyright © 2025 Bruce A. Wells. All rights reserved.






